Dans le domaine de la technologie de mesure, ERDI TECH s'est engagé à fournir les équipements de mesure les plus avancés et les plus précis. Notre dernier produit, un télémètre basé sur des fonctions trigonométriques, a révolutionné le domaine de la mesure avec son design unique et sa technologie avancée.
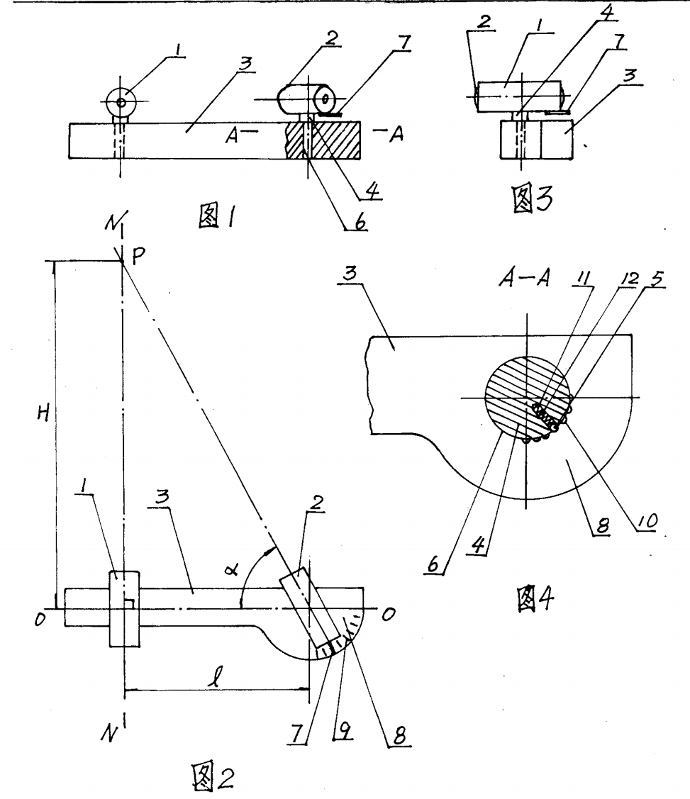
Le télémètre adopte un design innovant avec un miroir de test fixe 1 et un miroir de test rotatif 2, qui sont stablement soutenus par un support 8. La ligne centrale N-N du miroir de test fixe 1 et la ligne centrale O-O du support 8 sont fixées à angle droit pour garantir l'exactitude de la mesure. L'extrémité inférieure du miroir de test rotatif 2 forme une connexion rotative avec le support 8 par l'intermédiaire de l'arbre rotatif 4, rendant le processus de mesure plus flexible et pratique.
Le principe de fonctionnement de ce télémètre est basé sur le théorème de la tangente des fonctions trigonométriques. Tout d'abord, trouvez le point cible de mesure P à partir du miroir de test fixe 1, puis trouvez le point cible P en faisant tourner le miroir de test 2. Étant donné que l'angle entre le miroir de test fixe 1 et le miroir de test rotatif 2 est connu, en mesurant l'angle de rotation θ, nous pouvons déterminer la distance mesurée H. Selon le théorème de la tangente des fonctions trigonométriques, H=R·tgθ, où R est la distance entre le miroir de test fixe 1 et le miroir de test rotatif 2, et θ est l'angle de rotation.
Mode de réalisation spécifique un : Ce mode de réalisation se compose d'un miroir de test fixe 1, d'un miroir de test rotatif 2, d'un support 8 et d'un arbre rotatif 4. Le miroir de test fixe 1 est fixé à une extrémité du support 8, et la ligne centrale N-N du miroir de test fixe 1 est fixée à angle droit à la ligne centrale O-O du support 3. L'extrémité inférieure du miroir de test rotatif 2 est fixée avec un arbre rotatif 4, et l'extrémité inférieure de l'arbre rotatif 4 est insérée dans le trou 6 sur le support 8 et forme une connexion rotative avec celui-ci.
Mode de réalisation spécifique 2 : La différence entre ce mode de réalisation et le mode de réalisation 1 est qu'un indicateur 7 est fixé sous l'extrémité arrière du miroir de test rotatif 2, et une marque d'échelle 9 est fournie sur la plaque plate semi-circulaire 8 sur le support 8 sous le miroir de test rotatif 2. La distance H peut être lue à partir de l'échelle indiquée par l'indicateur 7. Les autres composants et relations de connexion sont les mêmes que dans le premier mode de réalisation.
Mode de réalisation spécifique trois : La différence entre ce mode de réalisation et les premier et deuxième modes de réalisation est que le trou 6 sur le support 8 est pourvu d'une cavité 10, et l'arbre rotatif 4 à l'extrémité inférieure du miroir de test rotatif 2 est pourvu d'un trou correspondant à la cavité 10. 11. Un ressort 12 est prévu dans le trou 11, et une bille 5 est placée au-dessus du ressort 12. Le diamètre de la bille 5 est le même que le diamètre de la cavité 10. Le but est de faciliter le positionnement après que le miroir de test rotatif 2 a été tourné pour éviter de glisser. Les autres composants et relations de connexion sont les mêmes que ceux des premier et deuxième modes de réalisation.
Ce télémètre présente les caractéristiques d'une petite taille, d'une portabilité facile et d'une mesure précise. En même temps, son installation et son travail d'ajustement sont simplifiés, rendant le processus de mesure plus pratique et applicable. De plus, le télémètre dispose également d'un design d'indicateur 7 et d'échelle 9, rendant la lecture plus intuitive et précise.
Le télémètre trigonométrique d'ERDI TECH offre une nouvelle solution pour le domaine de la mesure avec son design unique et sa technologie avancée. Nous croyons que ce produit favorisera le développement de la technologie de mesure et améliorera l'efficacité du travail et la précision des mesures.
Pour plus de détails techniques et d'avantages des télémètres trigonométriques d'ERDI TECH, veuillez visiter notre site officiel www.erdicn.com ou contacter notre équipe de support technique pour plus d'informations. Nous vous fournirons de tout cœur le meilleur service et support technique.
