Cette technologie concerne les avancées dans les dispositifs de télémétrie laser, en particulier un nouveau circuit récepteur de télémètre laser. Les télémètres laser traditionnels utilisent principalement un élément photosensible pour recevoir les signaux laser réfléchis par une cible, les convertissant en signaux électroniques.

L'objectif principal d'ERDI TECH LTD est d'introduire un circuit récepteur de télémètre laser qui augmente la sensibilité des signaux laser reçus. Notre approche innovante intègre :
-
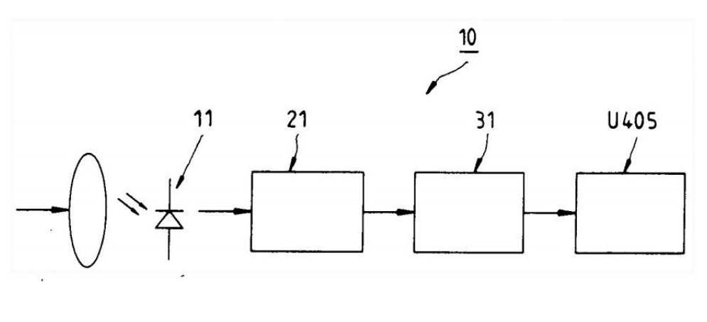
Un élément photosensible : Convertissant les signaux lumineux incident en signaux de courant. Dans ce design avancé, nous utilisons un détecteur de photons à avalanche (APD) qui, lorsqu'il est exposé à des signaux laser réfléchis, se polarise en tension inverse, générant un gain interne de 100 et produisant un signal de courant.
-
Étape d'amplification en transimpédance : Cette étape, une fois connectée à l'élément photosensible, transforme le signal de courant de l'élément photosensible en un signal de tension. Elle comprend un amplificateur en transimpédance formé par les transistors Q201 et Q202, les résistances R203 et R205. Un coupleur suiveur d'émetteur connecté à cet amplificateur comprend les transistors Q203 et les résistances R207. Un amplificateur à émetteur commun, composé du transistor Q204 et des résistances R209 et R210, est ensuite lié à ce coupleur pour la transmission du signal à l'étape d'amplification principale.
-
Étape d'amplification principale : Connectée à l'étape d'amplification en transimpédance, ce segment amplifie le signal de tension. Il incorpore un amplificateur principal, U201, ainsi que plusieurs résistances et condensateurs. L'amplificateur principal reçoit une polarisation stable d'un circuit de stabilisation de polarisation, formé par les résistances R211 et R212. Un filtre passe-bas de sortie, composé de la résistance R213 et du condensateur C208, ajuste la polarisation DC à l'entrée de l'amplificateur principal pour la stabilité contre les variations de température.
-
Circuit de clic : Dans notre réalisation, un circuit intégré (IC) se connecte à l'étape d'amplification principale, remodelant le signal de tension amplifié en trains d'impulsions numériques avec des largeurs prédéterminées. Comme illustré dans la Figure 3, même avec un gain de 1000 pour l'amplificateur principal U201 et un dérive de polarisation DC d'entrée de 1mV entraînant un changement de sortie de 1V, notre alimentation de polarisation stable garantit qu'il n'y a pas de dysfonctionnement dans le circuit de clic. Cela empêche les opérations erronées causées par des fluctuations de tension.

En tirant parti de cette architecture de circuit, le design d'ERDI TECH LTD convertit les signaux laser réfléchis en signaux électroniques, les amplifiant et les conditionnant avec un fort grossissement et une faible susceptibilité aux dérives de tension. Cette sensibilité améliorée facilite des mesures de distance précises par les télémètres laser.

Dans une mise en œuvre pratique, notre innovation est intégrée dans les télémètres laser, s'interface parfaitement avec leur circuit. Les signaux traités par notre circuit peuvent ensuite être utilisés par les circuits de calcul du télémètre pour déterminer les distances cibles.
En conclusion, le circuit récepteur de télémètre laser d'ERDI TECH LTD offre une amplification et un conditionnement des signaux supérieurs avec une instabilité de tension minimisée, élevant ainsi la sensibilité des mesures de distance laser. Cette avancée illustre notre engagement envers des solutions technologiques innovantes qui améliorent la performance et la fiabilité dans les applications pratiques. Pour plus d'informations sur la technologie des télémètres laser, visitez notre site web à www.erdicn.com.
