Champ technique :
Se rapporte à un dispositif de mesure de distance, tel que décrit dans la revendication 1, et à un télémètre et un appareil de fixation pour ledit dispositif de mesure de distance, tel que décrit dans les revendications 5 et 7.
Description technique :
L'objectif de cette technologie est de fournir un dispositif et ses composants, à savoir un télémètre et un appareil de fixation, garantissant un placement clair et sécurisé du télémètre sur presque n'importe quelle surface avec différentes formes.
Selon cette technologie, l'objectif est atteint grâce aux caractéristiques décrites dans les revendications 1, 5 et 7. Les revendications dépendantes fournissent des modes de réalisation alternatifs avantageux et des schémas d'amélioration pour le dispositif de mesure de distance. Dans le mode de réalisation préféré, un appareil de fixation remplaçable est monté sur un télémètre portatif, garantissant que sa face est dirigée vers la cible pour faciliter un positionnement précis par rapport au point de référence mesuré et un placement sécurisé sur la surface.
La séparation entre le point de mesure déterminé par le positionnement du dispositif de mesure de distance et le point de référence détermine la correction de la distance mesurée par le télémètre. Si la masse de l'appareil de fixation nécessaire pour la correction est précisément connue, la correction peut être calculée automatiquement à l'aide d'un calculateur différentiel. De plus, dans un mode de réalisation alternatif, le calculateur différentiel peut être omis, et le montant de correction requis peut être calculé de manière externe, combiné avec les données fournies par l'appareil de fixation. Ce dispositif permet des calculs de distance simultanés vers plusieurs points de référence avec une seule mesure.
Une caractéristique avantageuse de l'appareil de fixation est sa capacité à être librement conçu du côté de la cible, adapté à diverses formes et surfaces. Par exemple, l'appareil de fixation peut avoir une section de support universel réglable, conçue sous la forme d'un bras extensible qui mesure automatiquement sa longueur et transmet la valeur de mesure pour le calcul de la correction. Une autre possibilité d'application est le calcul de la distance vers des points qui sont, en principe, inaccessibles, tels que l'axe d'un tuyau. Installer le dispositif de mesure de distance sur un tuyau permet une correction directe de la valeur mesurée, déterminant la distance au centre du tuyau.
En utilisant cette méthode, en particulier dans le cas de grands dispositifs de mesure, les calculs sont simplifiés et le temps requis est réduit. Dans l'exemple du bras extensible, l'appareil de fixation peut être conçu pour être réglable afin d'augmenter la facilité d'utilisation.
Une autre possibilité d'application avantageuse de l'appareil de fixation en tant que support est son utilisation comme point de placement pour le dispositif de mesure. Dans ce cas, dans les applications de mesure terrestres, un trépied est couramment utilisé comme support et base de fixation pour le télémètre. Le télémètre peut être soutenu de manière pivotante autour d'un axe vertical, et grâce au mouvement autour de cet axe, un plan est tendu et calibré comme horizontal grâce à l'ajustabilité dans le trépied. Pour mesurer des points au-delà du plan de rotation horizontal lié au télémètre et au support, il est nécessaire de faire pivoter le télémètre autour d'un axe horizontal. Grâce à la mesure de deux points superposés, il est théoriquement possible de déterminer leur différence de hauteur. La tâche technique est de fournir un dispositif qui permet au télémètre d'être monté sur le support, de préférence un trépied, pour tourner autour d'un axe horizontal et d'un axe vertical sans avoir besoin de corriger la distance mesurée.
Description des figures :
Ci-dessous se trouve un bref exemple de la description détaillée du dispositif fournie dans les figures accompagnantes :
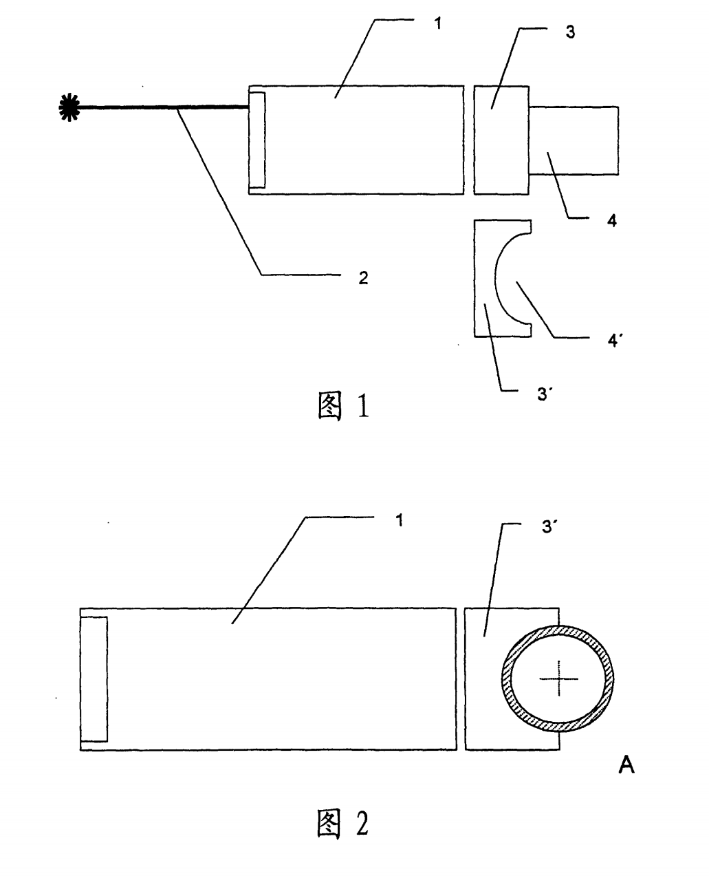
- Figure 1 : Vue d'ensemble du dispositif de mesure de distance avec deux appareils de fixation remplaçables.
- Figure 2 : Application exemple du dispositif avec un appareil de fixation spécialement conçu pour l'installation sur un tuyau.

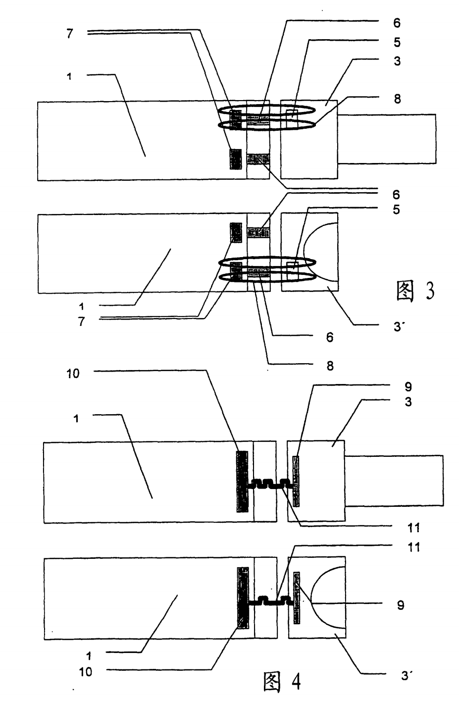
- Figure 3 : Identification possible de chaque appareil de fixation à l'aide d'aimants et de capteurs à effet Hall.
- Figure 4 : Une autre possibilité d'identification utilisant une puce mémoire.

- Figure 5 : Vue d'ensemble du dispositif composé d'un télémètre et d'un appareil de fixation pour connexion à un support.
- Figure 6 : Représentation des possibilités de mouvement de l'ensemble composé du dispositif et d'un trépied exemplaire en tant que support.

- Figure 7 : Fonctionnalité du dispositif lorsqu'il y a une différence de hauteur verticale entre les points de mesure.
- Figure 8 : Fonctionnalité d'un dispositif similaire selon l'art antérieur lorsqu'il y a une différence de hauteur verticale entre les points de mesure.

- Figure 9 : Différentes situations géométriques dans le dispositif avec un appareil de fixation utilisé comme support et une comparaison avec un dispositif selon l'art antérieur. 
Pour plus de détails techniques sur les télémètres laser, veuillez visiter notre site web à www.erditechs.com.