购物车

您的购物车目前是空的。

前去购物

Introduction To Laser Positioning Ultrasonic Rangefinder

2023年12月5日 WenYiLin
Introduction To Laser Positioning Ultrasonic Rangefinder-RangeFinder ERDI

ERDI TECH LTD is proud to present our latest technological achievement - the Laser Positioning Ultrasonic Rangefinder. This rangefinder, which combines the advanced technologies of ultrasonic ranging and laser positioning, revolutionizes the field of distance measurement with its high precision and ease of use.

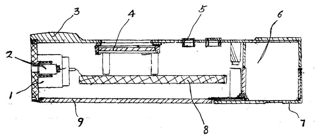
Figure 1

I. Product Overview

Our Laser Positioning Ultrasonic Rangefinder features an integrated design, encompassing two ultrasonic probes, a laser head, a panel, a display screen, buttons, a battery, a circuit board, and a shell. The meticulous arrangement of all components ensures a compact, fully functional product.

II. Technical Highlights

  1. Laser Positioning Technology: With the laser beam emitted by the laser head, users can effortlessly lock onto the target, achieving high-precision distance measurement.
  2. Ultrasonic Ranging Technology: The two ultrasonic probes work together to accurately measure the distance to the target.
  3. User-friendly Operation: The display screen and buttons are conveniently located on the panel, facilitating data viewing and operation.
  4. Efficient Power Management: The battery and circuit board are internally housed within the shell, ensuring the product's endurance and stability.

III. Operating Instructions

Users simply need to press the power button to activate the device, align the laser head with the target, and press the ranging button for the device to display the distance to the target. The straightforward and swift operation makes distance measurement a breeze.

IV. Advantages and Comparisons

Our Laser Positioning Ultrasonic Rangefinder offers significant advantages compared to existing portable ultrasonic rangefinders. By incorporating laser positioning technology, our product can lock onto targets more simply and reliably, greatly enhancing measurement accuracy. Additionally, our device boasts a compact structure and easy operation, making it particularly suitable as a general-purpose distance measurement instrument.

V. Illustrative Diagrams

Figure 1 depicts the structural schematic of our Laser Positioning Ultrasonic Rangefinder, detailing the positions and relationships of each component. Figures 2 and 3 provide top and left views of the device, respectively, offering insights into the structural design from different angles.

VI. Summary and Outlook

ERDI TECH LTD's Laser Positioning Ultrasonic Rangefinder exemplifies the seamless integration of cutting-edge technology and practical design. We firmly believe that this device will bring transformative change to the field of distance measurement, providing unprecedented convenience and efficiency to users. In the future, we will continue to dedicate ourselves to developing more innovative products that meet evolving market demands. For more technical knowledge on laser rangefinders, please visit our website at www.erditechs.com.

Figure 2

返回博客

提交评论